Η Apple κατοχύρωσε δύο διπλώματα ευρεσιτεχνίας που επιβεβαιώνουν τις φήμες που περιτριγυρίζουν το πολυαναμενόμενο επετειακό iPhone 8. Ουσιαστικά αυτές οι πατέντες περιγράφουν μια οθόνη για κινητά με κυρτές γωνίες -όπως το Galaxy S8- και με έναν αισθητήρα Touch ID επάνω της.
Η μία πατέντα δείχνει πως μπορεί να δουλεύει μια οθόνη από-άκρη-ως-άκρη χωρίς περιθώρια στα πλάγιά της, ενώ η δεύτερη δείχνει πως θα μπορέσει να ενσωματωθεί ένας αισθητήρας δαχτυλικών αποτυπωμάτων μέσα σε μια οθόνη.
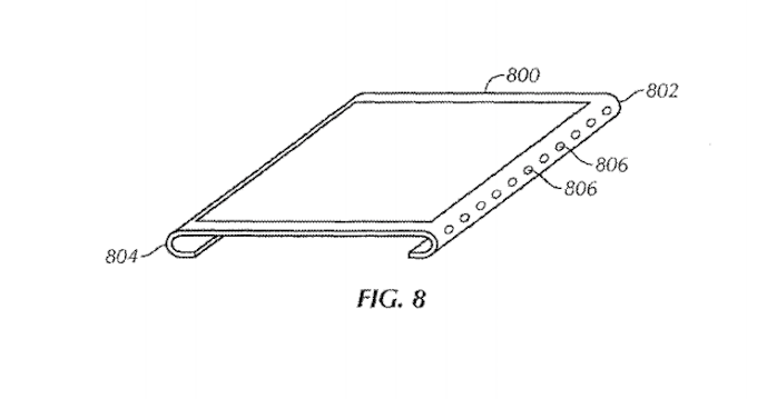
Η οθόνη στη πρώτη πατέντα -που έχει τίτλο “Μειώνοντας τα περιθώρια μιας συσκευής”- έχει κυρτές γωνίες που περιτριγυρίζουν το σώμα του κινητού. Στη πραγματικότητα δεν είναι κάτι καινούργιο, αφού τα Galaxy έχουν για καιρό τέτοιες οθόνες, οπότε ξέρουμε πως δουλεύουν και πως μοιάζουν.
Οι εταιρίες τεχνολογίας, συμπεριλαμβανομένης και της Samsung, μέχρι σήμερα έχουν πρόβλημα με τη τοποθέτηση ενός αισθητήρα δαχτυλικών αποτυπωμάτων στις οθόνες των κινητών, όμως η Apple φαίνεται ότι βρήκε λύση στο πρόβλημα. Όπως διαβάζουμε στη πατέντα, η τεχνολογία που αναπτύσσει η Apple έχει έναν αισθητήρα που διαβάζει το δάχτυλο μέσα στην οθόνη, όμως τα δεδομένα στέλνονται σε ένα ξεχωριστό τμήμα του κινητού για επεξεργασία.
Αν η Apple καταφέρει να υλοποιήσει και να ενώσει αυτές τις δύο πατέντες θα είναι η πρώτη εταιρία που θα καταφέρει να ενσωματώσει έναν αισθητήρα Touch ID στην οθόνη του κινητού.

